新專利顯示蘋果汽車可能采用特斯拉式感應電動機
2020-4-22 18:13:41??????點擊:
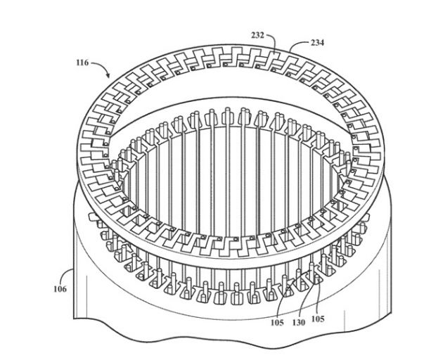
盡管提交了法律要求的文件,而且還提交了無數關于內飾和外觀的專利,但蘋果仍然不會說自己在制造汽車。但是,專利號10,630,127,題為“帶棒狀繞線定子和端頭冷卻電動機”的美國專利顯示,蘋果公司正在研發一款適合蘋果汽車的三相交流感應電機,采用與特斯拉相同的基本工程和電機設計原理。
該專利特別詳細介紹了一種三段式交流感應電機,這只是汽車可能的幾種電機系統中的一種。不過,它使用的是與特斯拉相同的松鼠籠式電機技術。蘋果之所以會專門選擇這種技術,也是出于和特斯拉一樣的原因。它可以在電壓/頻率可控的情況下產生較高的啟動力矩,價格更便宜,而且在崎嶇的地形上也很有用。與永磁驅動等相比,這類電機的壽命也可以預期,需要的維護費用較少。
相比之下,福特和日產的混合動力汽車使用的是永磁同步電機。它們比感應電機效率更高,但成本更高,需要更多的維護。此外,它們的磁鐵往往會隨著時間的推移而磨損,需要更換。選擇三相異步電動機,可能是因為這種技術的制造成本相對較低,不需要太多維護,而且在控制電壓/頻率時,可以產生較高的啟動轉矩。如果控制得當,三相交流感應電機的效率可以達到90%。問題在于這種控制的復雜性,盡管專利中沒有明確詳細說明蘋果公司的處理系統。
該專利特別詳細介紹了一種三段式交流感應電機,這只是汽車可能的幾種電機系統中的一種。不過,它使用的是與特斯拉相同的松鼠籠式電機技術。蘋果之所以會專門選擇這種技術,也是出于和特斯拉一樣的原因。它可以在電壓/頻率可控的情況下產生較高的啟動力矩,價格更便宜,而且在崎嶇的地形上也很有用。與永磁驅動等相比,這類電機的壽命也可以預期,需要的維護費用較少。
相比之下,福特和日產的混合動力汽車使用的是永磁同步電機。它們比感應電機效率更高,但成本更高,需要更多的維護。此外,它們的磁鐵往往會隨著時間的推移而磨損,需要更換。選擇三相異步電動機,可能是因為這種技術的制造成本相對較低,不需要太多維護,而且在控制電壓/頻率時,可以產生較高的啟動轉矩。如果控制得當,三相交流感應電機的效率可以達到90%。問題在于這種控制的復雜性,盡管專利中沒有明確詳細說明蘋果公司的處理系統。
相反,蘋果公司的專利集中在電機技術與發動機散熱方法的搭配上。專利顯示,冷卻結構與上部外環表面或下部外環表面中的至少一個處于導熱關系,用于接收來自端部轉環的熱量。


- 上一篇:醫療連接器廠商機遇來了,能否國產替代進口 2020/4/22
- 下一篇:獨家推出士蘭微杜比解碼SC6138A音頻編解碼SoC電路 2020/4/22

